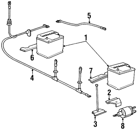
Battery for 1991 BMW 850i
Vehicle
1991 BMW 850i
Change Vehicle
- Brackets
- Bumper & Components - Front
- Bumper & Components - Rear
- Center Console
- Cowl
- Door
- Door & Components
- Exterior Trim - Door
- Exterior Trim - Pillars
- Exterior Trim - Quarter Panel
- Exterior Trim - Roof
- Fender & Components
- Front Door
- Glass - Door
- Glass - Windshield
- Glass & Hardware
- Glass & Hardware - Back
- Glove Box
- Grille & Components
- Hinge Pillar
- Hood & Components
- Information Labels
- Inner Structure
- Instrument Panel
- Interior Trim - Door
- Interior Trim - Pillars
- Interior Trim - Quarter Panels
- Interior Trim - Rear Body
- Interior Trim - Roof
- Interior Trim - Trunk
- Lid & Components
- Lock & Hardware
- Outside Mirrors
- Quarter Panel & Components
- Quarter Window
- Rear Body
- Rocker Panel
- Roof & Components
- Sound System
- Structural Components & Rails
- Sunroof
- Tracks & Components
- Trunk
- Wiper & Washer Components
- ABS Components
- Air Bag Components
- Alarm System
- Alternator
- Alternator/Generator & Related Components
- Anti-Theft Components
- Battery
- Battery & Related Components
- Combination Lamps
- Combination Tail Lamps
- Components Under Hood
- Distributor
- Door
- Electrical Components
- Flashers
- Front Seat Belts
- Headlamp Components
- Headlamp Washers/Wipers
- High Mounted Stop Lamp
- Horn
- Ignition Lock
- Ignition System
- Instruments & Gauges
- License Lamps
- Powertrain Control
- Rear Combination Lamps
- Rear Seat Belts
- Senders
- Side Marker & Signal Lamps
- Starter
- Sunroof
- Switches
- Traction Control Components
- Trunk
- Washer Components
- Window Defroster
- Wipers
- Brackets
- Bumper & Components - Front
- Bumper & Components - Rear
- Center Console
- Cowl
- Door
- Door & Components
- Exterior Trim - Door
- Exterior Trim - Pillars
- Exterior Trim - Quarter Panel
- Exterior Trim - Roof
- Fender & Components
- Front Door
- Glass - Door
- Glass - Windshield
- Glass & Hardware
- Glass & Hardware - Back
- Glove Box
- Grille & Components
- Hinge Pillar
- Hood & Components
- Information Labels
- Inner Structure
- Instrument Panel
- Interior Trim - Door
- Interior Trim - Pillars
- Interior Trim - Quarter Panels
- Interior Trim - Rear Body
- Interior Trim - Roof
- Interior Trim - Trunk
- Lid & Components
- Lock & Hardware
- Outside Mirrors
- Quarter Panel & Components
- Quarter Window
- Rear Body
- Rocker Panel
- Roof & Components
- Sound System
- Structural Components & Rails
- Sunroof
- Tracks & Components
- Trunk
- Wiper & Washer Components
- ABS Components
- Air Bag Components
- Alarm System
- Alternator
- Alternator/Generator & Related Components
- Anti-Theft Components
- Battery
- Battery & Related Components
- Combination Lamps
- Combination Tail Lamps
- Components Under Hood
- Distributor
- Door
- Electrical Components
- Flashers
- Front Seat Belts
- Headlamp Components
- Headlamp Washers/Wipers
- High Mounted Stop Lamp
- Horn
- Ignition Lock
- Ignition System
- Instruments & Gauges
- License Lamps
- Powertrain Control
- Rear Combination Lamps
- Rear Seat Belts
- Senders
- Side Marker & Signal Lamps
- Starter
- Sunroof
- Switches
- Traction Control Components
- Trunk
- Washer Components
- Window Defroster
- Wipers
Browse Categories
Select category
- Brackets
- Bumper & Components - Front
- Bumper & Components - Rear
- Center Console
- Cowl
- Door
- Door & Components
- Exterior Trim - Door
- Exterior Trim - Pillars
- Exterior Trim - Quarter Panel
- Exterior Trim - Roof
- Fender & Components
- Front Door
- Glass - Door
- Glass - Windshield
- Glass & Hardware
- Glass & Hardware - Back
- Glove Box
- Grille & Components
- Hinge Pillar
- Hood & Components
- Information Labels
- Inner Structure
- Instrument Panel
- Interior Trim - Door
- Interior Trim - Pillars
- Interior Trim - Quarter Panels
- Interior Trim - Rear Body
- Interior Trim - Roof
- Interior Trim - Trunk
- Lid & Components
- Lock & Hardware
- Outside Mirrors
- Quarter Panel & Components
- Quarter Window
- Rear Body
- Rocker Panel
- Roof & Components
- Sound System
- Structural Components & Rails
- Sunroof
- Tracks & Components
- Trunk
- Wiper & Washer Components
- ABS Components
- Air Bag Components
- Alarm System
- Alternator
- Alternator/Generator & Related Components
- Anti-Theft Components
- Battery
- Battery & Related Components
- Combination Lamps
- Combination Tail Lamps
- Components Under Hood
- Distributor
- Door
- Electrical Components
- Flashers
- Front Seat Belts
- Headlamp Components
- Headlamp Washers/Wipers
- High Mounted Stop Lamp
- Horn
- Ignition Lock
- Ignition System
- Instruments & Gauges
- License Lamps
- Powertrain Control
- Rear Combination Lamps
- Rear Seat Belts
- Senders
- Side Marker & Signal Lamps
- Starter
- Sunroof
- Switches
- Traction Control Components
- Trunk
- Washer Components
- Window Defroster
- Wipers
- Brackets
- Bumper & Components - Front
- Bumper & Components - Rear
- Center Console
- Cowl
- Door
- Door & Components
- Exterior Trim - Door
- Exterior Trim - Pillars
- Exterior Trim - Quarter Panel
- Exterior Trim - Roof
- Fender & Components
- Front Door
- Glass - Door
- Glass - Windshield
- Glass & Hardware
- Glass & Hardware - Back
- Glove Box
- Grille & Components
- Hinge Pillar
- Hood & Components
- Information Labels
- Inner Structure
- Instrument Panel
- Interior Trim - Door
- Interior Trim - Pillars
- Interior Trim - Quarter Panels
- Interior Trim - Rear Body
- Interior Trim - Roof
- Interior Trim - Trunk
- Lid & Components
- Lock & Hardware
- Outside Mirrors
- Quarter Panel & Components
- Quarter Window
- Rear Body
- Rocker Panel
- Roof & Components
- Sound System
- Structural Components & Rails
- Sunroof
- Tracks & Components
- Trunk
- Wiper & Washer Components
- ABS Components
- Air Bag Components
- Alarm System
- Alternator
- Alternator/Generator & Related Components
- Anti-Theft Components
- Battery
- Battery & Related Components
- Combination Lamps
- Combination Tail Lamps
- Components Under Hood
- Distributor
- Door
- Electrical Components
- Flashers
- Front Seat Belts
- Headlamp Components
- Headlamp Washers/Wipers
- High Mounted Stop Lamp
- Horn
- Ignition Lock
- Ignition System
- Instruments & Gauges
- License Lamps
- Powertrain Control
- Rear Combination Lamps
- Rear Seat Belts
- Senders
- Side Marker & Signal Lamps
- Starter
- Sunroof
- Switches
- Traction Control Components
- Trunk
- Washer Components
- Window Defroster
- Wipers
No.
Part # / Description / Price
Price
4
4
5
5
6
8
1988-2001 BMW - Starter Solenoid
BMW
BMW Notes: PARTS: Order by description.
Description: 12 cylinder. 750iL. 850Ci.
2 This part contains hazardous materials. Extra shipping costs apply.