Ignition Lock for 1988 BMW M3

Vehicle

1988 BMW M3

Change Vehicle

Categories

Browse Categories
Ignition Lock for 1988 BMW M3 #0
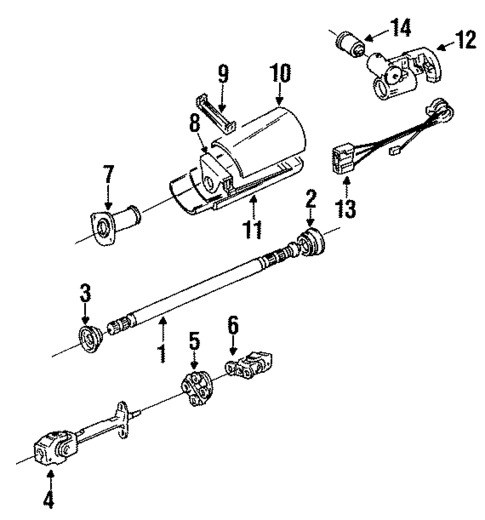
No.
Part # / Description / Price
Price
2
Upper Bearings
BMW BMW
Description: Series 5. Series 7. Series 3. Electric, upper. 1984-89, upper, from 3/88. 1990-91, upper, steel. Manual, upper, to 7/90. Convert old style, with air bag, upper.
3
1984-2002 BMW - Bearing
BMW BMW
MSRP $126.28
$96.88
MSRP $126.28
$96.88
4
Lower Joint Assembly
BMW BMW
Notes: PARTS: Order by model & year.
Description: 1984-89, 4wd. 325iX. From 9/87.
4
1988-1989 BMW M3 - Lower Joint Assembly
BMW BMW
Notes: PARTS: Order by model & year.
Description: 1984-89, 2wd, M3.
6
1986-1991 BMW - Swivel Joint
BMW BMW
Description: 1984-89. Series 3. Without convertible. 1990-91, 4wd.
7
1986-1989 BMW - Jacket Support
BMW BMW
Description: 1984-89, shaft. Without air bag.
8
1984-1993 BMW - Jacket
BMW BMW
Notes: PARTS: Order by model & year.
Description: 1984-89, 2wd. Series 3. With convertible. Without air bag.
10
1984-1993 BMW - Upper Column Cover
BMW BMW
Notes: PARTS: Order by model & year.
Description: Series 3. With convertible. 1984-89, 2wd. 1986-89, upper, with restraint. 635. With air bag.
10
1987-1993 BMW - Upper Column Cover
BMW BMW
Notes: PARTS: Order by model & year.
Description: Series 3. With convertible. 1984-89, 4wd. 1990-91. Convert old style, with air bag.
11
1984-1993 BMW - Lower Column Cover
BMW BMW
Notes: PARTS: Order by model & year.
Description: Series 3. With convertible. Without air bag. 1984-89.
MSRP $50.60
$39.66
MSRP $50.60
$39.66
12
1984-1991 BMW - Lock Housing
BMW BMW
Description: 1984-89. Series 3. Without air bag.
MSRP $351.66
$289.44
MSRP $351.66
$289.44
13
1984-1993 BMW - Ignition Switch
BMW BMW
Description: 1984-89, 2wd. M3, 325i, 325is. Exc.Air Bag. 325e. 318i.
MSRP $108.57
$87.02
MSRP $108.57
$87.02
14
Cylinder & Keys
BMW BMW
Description: 1984-89. Series 3. 1990-91. With air bag.